The Viable System Model (VSM) was first presented in 1972 by Stafford Beer in his book Brain of the Firm. The VSM, a model just as complicated as its prototype the human body, consists of elements analogous to extremities, backbone, nerves, nerve centres and brain. These counterparts are the five managerial subsystems. As a survival instrument of the organism, the human nervous system has to process an excess of information and regulate a tremendous number of variables. Taking its way of functioning as a starting point, Beer calls his model neurocybemetics. This is directed toward information flows and communication links within the enterprise. The way information circulates in the various channels gives a hint of how both the organization as a whole and its different parts perform in relation to their goals.
A viable system has the properties of self-repair, self-awareness, recursion and maintenance of identity. According to Beer the structure and working principles of a viable nervous system are applicable to all kinds of organizations for their regulation, adaptation, learning and development. When the performance is faulty, it is assumed that the cybernetic principles are being violated. Organizations exist in a very complex reality — ‘a terrible mess’ in the words of Beer. To handle their organization, managers have to tame the mess according to some basic principles presented in the model where the main concern is the control function and the concept of variety. The general solution to the problem of organizational complexity or variety is to use the fact that variety neutralizes variety. This is defined in the Law of Requisite Variety (see p.100) thus: the variety of the control unit has to be at least the same as the variety of the governed system. A massive variety reduction is possible through organizational recursion which implies that every systemic level is a recursion (organizational copy) of its metasystem.
Variety has sometimes to be multiplied and sometimes to be damped, giving the terms amplifier and attenuator. A transducer is also necessary as a translator in a communication process which crosses several subsystem boundaries. Information crossing a boundary is always transformed.
Using these key concepts, Beer formulated four principles which all viable organizations must obey.
• The First Principle of Organization
Variety, diffusing through an institutional system, tends to equate; it should be designed to do so with minimum cost and damage to people.
• The Second Principle of Organization
Channels carrying information between the management unit, the operation and the environment must each have a higher capacity than the generating subsystem.
• The Third Principle of Organization
Whenever the information carried on a channel crosses a boundary, it undergoes transduction; the variety of the transducer must be at least equivalent to the variety of the channel.
• The Fourth Principle of Organization
The operation of the first three principles must constantly recur through time, and without hiatus or lag.
All viable organizations also consist of the five levels discussed below. System One refers to those units that are to be controlled. These are exemplified by departments in a firm or subsidiaries in a group of companies. The basic organizational elements are shown in Figure 3.7.

Figure 3.7 Basic organizational elements of the enterprise.
The square encloses the managerial activity needed to run the organization. The circle encloses the operations that constitute the total viable system in focus. The amoebic shape represents the total environment. The arrows refer to the vital interactions between the three basic entities; each arrow stands for a multiplicity of channels whereby the entities affect each other. The amplifier is intended for the low-variety input and the attenuator the high-variety input, thereby balancing the variety.
The figure shows the dynamic content of any enterprise. Manipulation of the four Ms, Men, Materials, Machinery and Money, exists as part of the more fundamental management of complexity. Complexity and its measure, variety, indicate the number of possible states of a system. Variety in a complicated entrepreneurial system is calculated with the help of comparative statements (this has more variety than that) and of the arithmetic of ordinal numbers (this product is the second most profitable).
It is obvious that the square management box has a lower variety than the circle containing the operations, and that the circle in turn has lower variety than the environment. Variety is cut down, or attenuated, to the number of possible states that the receiving station can actually handle. Variety may also be increased, or amplified, to the number of possible states that the receiving station needs if it is to remain regulated and under control.
System Two co-ordinates the parts of System One in a harmonious manner. It comprises the information system necessary for decentralized decision making within System One and for problem solving between the separate System Ones. This is carried out through formal reporting and through people who build their own networks of contacts. Uncontrolled oscillations between the parts are dampened by System Two, a kind of service organ. A continuously working System Two is essential although its requisite variety only works in a dampening way. Audit is a typical System Two function creating a channel between System Three and the operational in System One.
System Three is the ‘here and now’ of the enterprise and its functional components are typically Marketing, Accounting, Personnel and so on. Two of its main tasks are maintaining the inner-connectivity of its own infrastructure and the exact configuration of System One. It also has to interpret policy decisions of higher management and to allocate resources to parts of System One. Its own policy vis-à-vis System One should be effectively implemented.
System Four is the forum of ‘change and future’. While System Three handles the inside of the enterprise, System Four handles the outside, that is, the managing of external contacts, development work and corporate planning. The future does not happen, it has to be designed. This is the task of System Four.
The distribution of environmental information upward or downward according to its degree of importance is the responsibility of System Four. Urgent information and ‘alarm signals’ from the lower levels must be received and eventually forwarded to System Five.
System Five completes the system and closes the model. It monitors the operation balancing Systems Three and Four. System Five, a metalevel with an irregular appearance, is responsible for main policies and the investments for the infrastructure. Examples such as shareholders, the governors of a university, or the board of directors of a multinational enterprise show how System Five represents the ‘whole system’. Since only significant signals passing through the filters of all of the lower levels will bring about a response, this level can be seen as representing the cortex of the brain.
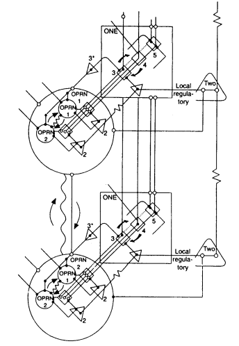
A diagram of the complete model of the above is shown in Figure 3.8.

Figure 3.8 Beer’s Viable System Model with its five subsystems.
For a full understanding of Figure 3.8, it is necessary to be acquainted with the Recursive System Theorem. In Beer’s own words: ‘any viable system contains, and is contained in, a viable system.’ To study this phenomenon is to consider a trio of viable systems: the organization we wish to study, the one within which it is contained, and the set of organizations contained within it (one level of recursion down). A most important feature of a viable system is this self-reference, as illustrated in Figure 3.9. Note that the connectivity between any recursive pair is the same. Any organization, already and quite properly depicted as belonging to a special level of recursion, also belongs to a number of other recursion levels. To clarify: based on recursion, all five subsystems exist on every level of recursion. This implies that no matter what level of recursion is chosen to study the model it still looks the same.
The ultimate aim of operation control is the maintaining of the homeostasis. A company’s cost control, quality control, stock control and management inventory, among others, are examples of homeostatic regulation. This takes place through decisions in hierarchical order or a ‘chain of command’. To emphasize the parallels between VSM and the human body, let us examine the planning for future events in the enterprise. This is initiated by way of directions from a deciding organ (the brain or the annual meeting of shareholders). Information concerning decisions is transmitted to units (nerve centre or the board of directors) which transform directions to execution orders (nerve impulses or messages). These orders are then interpreted by affected units (extremities or departments) which execute the order (the reaction or the directive). When everything is accomplished, the unit receives a task- completed message (response or report).
When something unexpected happens a reflex reaction takes over. This is a spontaneous response to a stimulus in the autonomous nerve system without the immediate knowledge of the deciding unit (the brain or the managing director). Afterwards an interpretation concerning the event takes place when the decider becomes aware of what had happened.

Figure 3.9 Partial enlargement of Figure 3.8 showing organizational recursion.
Every viable system has controlling units (the spleen or a chartered accountant) which check that the right things are done in the right manner. Some units have an evaluating function (the brain or the auditor’s department). Inadequate results are fed back and measures are taken to rectify whatever is faulty.
As Beer’s focus was the improvement of organizational performance, he also introduced three indices for levels of achievement which are defined in the following way:
- Actuality The current achievement using existing resources and constraints.
- Capability The possible achievement with existing resources and within existing constraints.
- Potentiality What could be achieved by developing resources and removing constraints.
If these indices are related to each other in the way presented below, the concepts of productivity, latency and performance are created.
A/C = productivity C/P = latency A/P = performance
The aim of the VSM is to demonstrate a well-functioning system. Several well-informed statements concerning organizational wellbeing and malfunctioning are delivered with the model. A few of these are as follows.
- Organizational freedom or autonomy is defined by means of interactions between operational horizontal forces and vertical unifying forces. If autonomy becomes synonymous with isolation, the cohering forces will disappear.
- The degree of organizational coherence depends upon the purpose of the system. Metasystem intervention is necessary only to the degree which guarantees a coherent viable system.
- Complicated systems malfunction owes to inherent instability, not for a defined reason.
- Systems 2, 3, 4 or 5 of an organization often become autocratic and strive for viability in their own right, that is, they become bureaucratic. They should not be allowed to continue to function at the expense of the system as a whole.
- System 5 sometimes collapses into System 3 if System 4 is too weak.
- System 3 managers interfere too often in the management process of System 1.
- System 2 is not fully established because managers of System 1 resent the interference.
- System 4 is weak because it is regarded as a staff function.
- System 5 is not creating an identity and is not representing the essential qualities of the whole system to the wider system and the environment.
- Internal communication channels and channels linking the organization to the environment are often under dimensioned for the flow necessary to ensure a viable system.
- Mistakes in articulating different levels of recursion.
Source: Skyttner Lars (2006), General Systems Theory: Problems, Perspectives, Practice, Wspc, 2nd Edition.
