Instead of the theory of open systems, another model construct is more familiar to the American school. It is the concept of feedback regulation, which is basic in cybernetics and was biologi- cally formulated in Cannon’s concept of homeostasis (e.g., Wiener, 1948; Wagner, 1954; Mittelstaedt, 1954, 1956; Kment, 1957). We can give it only a brief consideration.
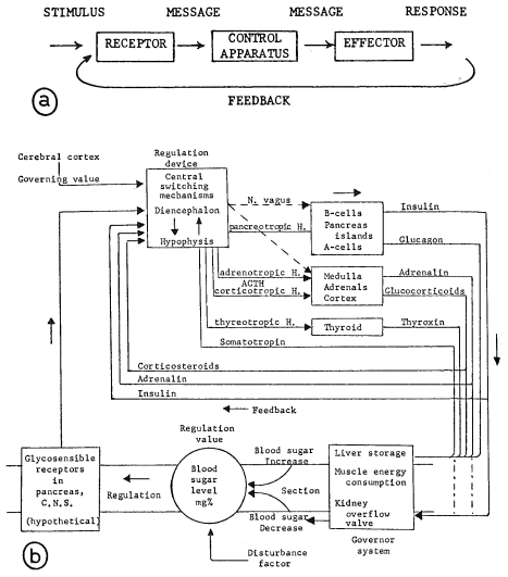
As is generally known, the basic model is a circular process where part of the output is monitored back, as information on the preliminary outcome of the response, into the input (FIG. 7.2a), thus making the system self-regulating; be it in the sense of maintenance of certain variables or of steering toward a desired goal. The first is the case, e.g., in a simple thermostat and in the maintenance of constant temperature and many other parameters in the living organism; the second, in self-steering missiles and proprioceptive control of voluntary movements. More elaborate feedback arrangements in technology and physiology (e.g., FIG. 7.2b) are variations or aggregates of the basic scheme.
Phenomena of regulation following the feedback scheme are of widest distribution in all fields of physiology. Furthermore, the concept appeals to a time when control engineering and automation are flourishing, computers, servomechanisms, etc., are in the center of interest, and the model of the “organism as servomechanism” appeals to the Zeitgeist of a mechanized society. Thus the feedback concept sometimes has assumed a monopoly suppressing other equally necessary and fruitful viewpoints: The feedback model is equated with “systems theory” in general (Grodin, 1963; Jones and Gray, 1963; Casey, 1962), or “biophysics” is nearly identified with “computer design and information theory” (Elsasser, 1958, p. 9). It is therefore important to emphasize that feedback systems and “homeostatic” control are a significant but special class of self- regulating systems and phenomena of adaptation (cf. Chapter 6). The following appear to be the essential criteria of feedback control systems:
- Regulation is based upon preestablished arrangements (“structures” in a broad sense). This is well expressed by the German term Regelmechanismen which makes it clear that the systems envisaged are of the nature of “mechanisms”—in contrast to regulations of a “dynamic” nature resulting from free interplay of forces ahd mutual interaction between components and tending toward equilibrium or steady states.
- Causal trains within the feedback system are linear and uni-directional. The basic feedback scheme (FIG. 7.2) is still the classical stimulus-response (S-R) scheme, only the feedback loop being added so that causality becomes circular.

Fig. 7 .2 . a: Simple feedback scheme, b : Homeostatic regulation of the blood sugar level. (After Mittelstaedt, 1954.)
- Typical feedback or homeostatic phenomena are “open” with respect to incoming information, but “closed” with respect to matter and The concepts of information theory— particularly in the equivalence of information and negative entropy—correspond therefore to “closed” thermodynamics (thermostatics) rather than irreversible thermodynamics of open systems. However, the latter is presupposed if the system (like the living organism) is to be “self-organizing” (Foerster and Zopf, 1962), i.e., is to go toward higher differentiation. As was mentioned above, no synthesis is reached as yet. The cybernetic scheme permits, by way of block diagrams, clarification of many important phenomena of self-regulation in physiology and lends itself to information-theoretical analysis. The open-system scheme permits kinetic and thermodynamic analysis.
Comparison of flow diagrams of feedback (FIG. 7.2) and open systems (FIG. 7.1) intuitively shows the difference. Thus dynamics in open systems and feedback mechanisms are two different model concepts, each in its right in its proper sphere. The open-system model is basically nonmechanistic, and transcends not only conventional thermodynamics, but also one-way causality as is basic in conventional physical theory (cf. Chapter 4). The cybernetic approach retains the Cartesian machine model of the organism, unidirectional causality and closed systems; its novelty lies in the introduction of concepts transcending conventional physics, especially those of information theory. Ultimately, the pair is a modern expression of the ancient antithesis of “process” and “structure”; it will eventually have to be resolved dialectically in some new synthesis.
Physiologically speaking, the feedback model accounts for what may be called “secondary regulations” in metabolism and other fields, i.e., regulations by way of preestablished mechanisms and fixed pathways, as in neurohormonal control. Its mechanistic character makes it particularly applicable in the physiology of organs and organ systems. On the other hand, dynamic interplay of reactions in open systems applies to “primary regulations” such as in cell metabolism (cf. Hess and Chance, 1959) where the more general and primitive open-system regulation obtains.
Source: Bertalanffy Ludwig Von (1969), General System Theory: Foundations, Development, Applications, George Braziller Inc.; Revised edition.
